Dok neki proizvođači nastoje učiniti vozila lakšim za održavanje i popravku, BMW izgleda razmišlja u suprotnom smjeru. Njemački proizvođač podnio je patent za posebne šrafove čije glave podsjećaju na BMW logo.
Dizajn šrafova i potreban specijalni alat
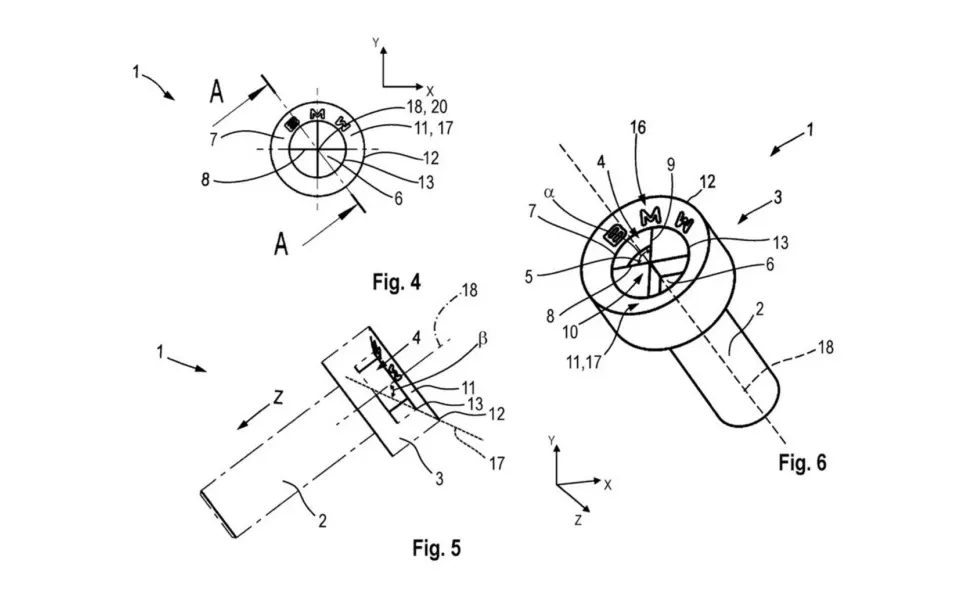
Patent prikazuje šrafove podijeljene na četiri segmenta, slično emblematu BMW-a. Dva segmenta su udubljena, dok su druga dva ravna ili ispupčena, što znači da bi za odvrćanje bio potreban specijalan, namenski alat. Ovi šrafovi mogu izgledati atraktivno, posebno na vidljivim mjestima unutar vozila ili ispod haube.
Problem za vlasnike i nezavisne radionice
Za vlasnike i nezavisne radionice, ovi šrafovi mogu predstavljati ozbiljan problem, jer standardni alati više neće biti dovoljni za osnovne popravke. Fanovi brenda kritikuju potez, smatrajući ga dodatnom preprekom za one koji žele sami održavati svoje automobile.
Mogućnosti aftermarket sektora
Mnogi stručnjaci ističu da bi proizvođači alata iz aftermarket sektora vjerovatno brzo ponudili kompatibilna rješenja, možda čak i prije nego što šrafovi stignu u serijsku proizvodnju.
Neizvjesna budućnost patenta
Patent je podnesen u junu 2024. i objavljen krajem 2025., ali nije sigurno da li će BMW zaista koristiti ove šrafove u praksi. Ipak, cijela priča dodatno pojačava zabrinutost da moderni automobili postaju sve teži za popravku izvan ovlaštenih servisa.




